
An advantage of key-based access to servers with SSH is to allow password-less SSH logins. However, these kinds of arrangements have been very difficult to manage at any realistic scale, because in order for each of N SSH clients, to access M SSH servers, each of the servers had to have an SSH public key from each of the SSH clients installed, yielding an order N * M key management problem. In typical scenarios, this could probably start out at something like 10,000 client-host key combinations. Clearly, this is not practical or manageable.
A little-known capability of the OpenSSH server in common use is that it can be configured to allow SSH server and clients to trust each other via the use of server and client SSH host keys that are signed by a mutually trusted certificate authority (CA). Once this trust is established, no keys or passwords need to be exchanged between clients and servers, and password-less logins are enabled.
Hashicorp Vault provides several methods to manage SSH keys, and one of the simplest and most direct is the SSH CA (certification authority) mode:
A sshd server may be configured to allow authentication via certified keys, by extending the existing
~/.ssh/authorized_keysmechanism to allow specification of certification authority keys in addition to raw user keys. The SSH client will support automatic verification of acceptance of certified host keys, by adding a similar ability to specify CA keys in~/.ssh/known_hosts.
In this mode, Vault is configured to act as a certificate authority (CA) able to issue certificates that can then be used to do the following:
- Provide CA certificates to associate SSH servers and clients with the CA
- Authenticate known SSH servers
- Authenticate known SSH public keys
One significant advantage of this approach is the transitive trust it provides: This allows a SSH server to be trusted by a SSH client, without having to directly provide any information about the SSH server to the SSH client. Since an SSH server has its SSH host key signed by the CA (Vault), a SSH client that can access the CA can use the signature to validate the authenticity of the SSH server.
Since a SSH client also has its SSH public key similarly signed by the CA, a SSH server can similarly validate the authenticity of a SSH client at connection time without having to receive any additional information about the SSH client, because it can determine that it’s own SSH host key and the client’s SSH public key are both valid and signed by the same CA.

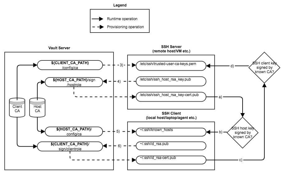
Provisioning Operations
See numbered captions in the headings below
Runtime Operations
Upon starting a session with a SSH server, the SSH client will:
- a.) Receive the SSH server host key
- b.) Check to see if the server host key matches the entry in its
~/.ssh/known_hostsfile - c.) Present its signed SSH client key to the server
The server will then:
- d.) Check to see if the presented SSH client key has been signed by the client CA
Prerequisites
In order to interact with the Vault server (at https://vault.mydomain.org:8200 for this example) from both the SSH host and the SSH client machines, you need to either use the Vault CLI, or Curl.
Vault Installation
Vault is simple to install, it comes as a single ZIP file that unpacks
into a standalone executable (named “vault”) that can be placed
somewhere in your $PATH (/usr/local/bin is recommended).
Note that you need to pick the correct version for your platform:
| Package | Platform |
|---|---|
vault_*_darwin_amd64.zip |
Mac OS X 64-bit |
vault_*_linux_amd64.zip |
Linux x86_64 64-bit |
vault_*_linux_arm.zip |
Linux ARM 32-bit |
vault_*_linux_arm64.zip |
Linux ARM 64-bit |
vault_*_openbsd_amd64.zip |
OpenBSD 64-bit |
vault_*_windows_amd64.zip |
Windows 8 and later |
curl and jq
curl is installed by default on most systems, or can be installed using the native package manager (i.e. apt-get, yum, etc.).
jq is a helper utility for managing JSON output from curl, it can also usually be installed using the native package manager, but it can also be obtained from its home page.
Authentication and Authorization
In order to interact with the Vault server, you need to identify yourself to it using your credentials. All of the interactions below presume that you have already authenticated and authorized yourself with the Vault server as follows:
Using Vault CLI
$ export VAULT_ADDR="https://vault.mydomain.org:8200"
$ export VAULT_TLS_SERVER_NAME="vault.mydomain.org"
$ vault login -method=userpass username=<username> # Token will be in ~/.vault-token
Password (will be hidden):
$ export VAULT_TOKEN=$(cat ~/.vault-token)`
Using Curl
$ export VAULT_ADDR="https://vault.mydomain.org:8200"
$ export VAULT_TLS_SERVER_NAME="vault.mydomain.org"
$ curl $VAULT_ADDR/v1/auth/userpass/login/<username> \
> -d '{ "password": "<password>" }' | \
> jq '.auth.client_token' | \
> sed 's/\"//g'` > ~/.vault-token
$ export VAULT_TOKEN=$(cat ~/.vault-token)`
Vault Endpoint Configuration
Per Hashicorp’s recommendations, we implement two SSH secrets engine
endpoints in Vault, one at the path HOST_CA_PATH for configuring SSH
servers, and one at the path CLIENT_CA_PATH for configuring SSH
clients. These endpoints are configured by a Vault administrator as
follows, after authentication as described in “Authentication and
Authorization” above has occurred:
Client CA Endpoint
@vault:$ vault secrets enable -path=${CLIENT_CA_PATH} ssh
@vault:$ vault write ${CLIENT_CA_PATH}/config/ca generate_signing_key=true
@vault:$ vault write ${CLIENT_CA_PATH}/roles/clientrole - << "EoH"
{
"allow_user_certificates": true,
"allowed_users": "*",
"default_extensions": [
{
"permit-pty": ""
}
],
"key_type": "ca",
"default_user": "admin",
"ttl": "30m0s"
}
EoH
Server CA Endpoint
@vault:$ vault secrets enable -path=${HOST_CA_PATH} ssh
@vault:$ vault write ${HOST_CA_PATH}/config/ca generate_signing_key=true
@vault:$ vault secrets tune -max-lease-ttl=87600h ${HOST_CA_PATH}
@vault:$ vault write ${HOST_CA_PATH}/roles/hostrole \
> key_type=ca \
> ttl=87600h \
> allow_host_certificates=true \
> allowed_domains="mydomain.org,myotherdomain.io" \
> allow_subdomains=true
Note that the primary security in this configuration is provided by configuring appropriate access policies for the SSH host and client CA endpoints using Vault policy settings:
- Administrators policy (able to configure SSH servers and SSH clients)
- Read/Write access to client endpoint public key (
${CLIENT_CA_PATH}) - Read/Write access to host endpoint signer (
${HOST_CA_PATH}) - Developers policy (able to configure SSH clients)
- Read access to host endpoint public key (
${HOST_CA_PATH}) - Write access to client endpoint signer (
${CLIENT_CA_PATH})
Configuration of SSH hosts and clients for certificate based authorization is accomplished by reading and writing to various endpoints on these Vault paths.
SSH Server Configuration
Steps
Read ${CLIENT_CA_PATH}/config/ca:public_key to obtain SSH client
certificate public key
Write to ${HOST_CA_PATH}/sign/hostrole:signed_key to sign SSH server
host key with host certificate
The steps below assume that authentication as described in
“Authentication and Authorization” above has occurred, and a valid
token is stored in the VAULT_TOKEN environment variable.
Configure the Client CA Certificate (3)
Each SSH server needs a copy of the client CA certificate from Vault, so that they can validate client public SSH keys that are signed with that certificate:
Using Vault CLI
@server:$ vault read -field=public_key ${CLIENT_CA_PATH}/config/ca > \
> /etc/ssh/trusted-user-ca-keys.pem
@server:$ echo "TrustedUserCAKeys /etc/ssh/trusted-user-ca-keys.pem" >> \
> /etc/ssh/sshd_config
Using Curl
@server:$ curl -s -X GET -H "X-Vault-Token:${VAULT_TOKEN}" \
> ${VAULT_ADDR}/v1/${CLIENT_CA_PATH}/config/ca | jq '.data.public_key' | \
> sed 's/\"//g' > /etc/ssh/trusted-user-ca-keys.pem
@server:$ echo "TrustedUserCAKeys /etc/ssh/trusted-user-ca-keys.pem" >> \
> /etc/ssh/sshd_config
Sign the SSH Server Host Key (4)
The SSH server host key for each SSH server also needs to be signed with the Vault host CA certificate:
Using Vault CLI
@server:$ cat /etc/ssh/ssh_host_rsa_key.pub | \
> vault write \
> -field=signed_key ${HOST_CA_PATH}/sign/hostrole \
> public_key=- cert_type=host > /etc/ssh/ssh_host_rsa_key-cert.pub
@server:$ chmod 0640 /etc/ssh/ssh_host_rsa_key-cert.pub
@server:$ echo "HostKey /etc/ssh/ssh_host_rsa_key" >> /etc/ssh/sshd_config
@server:$ echo "HostCertificate /etc/ssh/ssh_host_rsa_key-cert.pub" >> \
> /etc/ssh/sshd_config
@server:# service ssh restart
Using Curl
@server:$ echo "{ \"public_key\": \"$(cat /etc/ssh/ssh_host_rsa_key.pub)\", \
> "cert_type": "host" }" > /tmp/ca_opts.json
@server:$ curl -s \
> --header "X-Vault-Token:${VAULT_TOKEN}" --request POST \
> --data @/tmp/ca_opts.json > ${VAULT_ADDR}/v1/${HOST_CA_PATH}/sign/hostrole | \
> jq '.data.signed_key' | \
> sed 's/\"//g' > /etc/ssh/ssh_host_rsa_key-cert.pub
@server:$ chmod 0640 /etc/ssh/ssh_host_rsa_key-cert.pub
@server:$ echo "HostKey /etc/ssh/ssh_host_rsa_key" >> /etc/ssh/sshd_config
@server:$ echo "HostCertificate /etc/ssh/ssh_host_rsa_key-cert.pub" >> \
> /etc/ssh/sshd_config
@server:$ rm -f /tmp/ca_opts.json
@server:# service ssh restart
SSH Client Configuration
Steps
Read from ${HOST_CA_PATH}/config/ca:public_key to obtain SSH server
certificate public key
Write to ${CLIENT_CA_PATH}/sign/clientrole:signed_key to sign SSH
client key with client certificate
The steps below assume that authentication as described in
“Authentication and Authorization” above has occurred, and a valid
token is stored in the VAULT_TOKEN environment variable.
Configure the Server CA Certificate (5)
Each SSH client needs a copy of the server CA certificate from Vault, so that they can validate server public SSH keys that are signed with that certificate:
@client:$ export VAULT_TOKEN=$(cat ~/.vault-token)`
@client:$ VALID_DOMAINS="*,mydomain.org,myotherdomain.io"
@client:$ SSH_CA_KEY=$(vault read -field=public_key ${HOST_CA_PATH}/config/ca)
@client:$ echo "@cert-authority ${VALID_DOMAINS} ${SSH_CA_KEY}" >> \
> ~/.ssh/known_hosts
Sign the SSH Client Key (6)
The SSH client key for each SSH client also needs to be signed with the Vault client CA certificate:
@client:$ VALID_PRINCIPALS="admin,myusername"
@client:$ cat ~/.ssh/id_rsa.pub | vault write -field=signed_key \
> ${CLIENT_CA_PATH}/sign/clientrole valid_principals=${VALID_PRINCIPALS} \
> public_key=- > ~/.ssh/id_rsa-cert.pub
